互联网暴露面全面资产收集流程及方法解析
前言
信息搜集真的就只是找找子域名,扫扫目录和端口这么简单吗?万字长文带你窥探信息收集真正的艺术!
收集流程概述
[0]自动化信息收集阶段
1.--工具自动化信息收集
[1]资产发现阶段
1.--组织信息收集
2.--主域名收集
3.--子域名收集
[2]资产扩展阶段
1.--端口收集
2.--C段收集
[3]资产梳理阶段
1.--测活+指纹识别
[4]自动化扫描阶段
1.--漏洞扫描器测试
[5]重点目标针对收集阶段
1.--架构信息收集
2.--源码信息收集
3.--网站基本信息
(1)----语言
(2)----数据库
(3)----web容器
(4)----操作系统
4.--网站深度信息收集
(1)----前端源码
(2)----目录
(3)----端口
(4)----js接口
(5)----快照
(6)----插件
(7)----旁站
5.--网盘信息
6.--社工信息
7.--小程序信息
8.--APP信息
[0]自动化信息收集阶段:使用工具自动进行信息收集,与手工结合同时进行最佳
自动化信息收集
在手工信息收集之前,建议可以使用一下知名的自动化信息收集工具,帮助我们快速的进行大致的信息收集,也能与手工信息收集结果相互补充
没什么好说的,推荐几款工具,选择一两个觉得趁手的会用就行
我比较喜欢用ARL,尤其是它的文件泄露功能往往能帮我快速撕开口子,由于灯塔之前跑路了,所以要用第三方备用库


[1]资产发现阶段:收集出目标主体大部分的资产
组织结构收集
简介
组织结构收集就是摸清目标有哪些子公司,分别处于整体什么位置,股权分别占多少比重,与主公司的结构关系等等。由于小型目标结构组织简单,是单独存在的,没有收集阻止结构的必要。所以,这个组织结构的收集是针对于比较庞大的目标的,比如大型集团、企业,大型政党单位,大型高校。
作用
那么为什么要收集目标的组织结构呢?以hw为例,假设目标是一个大型集团,收集目标的组织结构有以下作用:
- 更全面的收集到目标的所有子公司,从而得到更全的主域名,这意味着有更广的攻击面
- 摸清了组织结构,可以采用自下而上的打法:A公司防守很严,暴露面少很难突破,那么如果收集了组织结构就可以去找A公司的子公司作为突破口,因为子公司一般没有其主公司安全性高,而且子公司与主公司有些资产(比如办公环境,内部业务环境等等)很有可能处于同一个内网,于是只要拿下了子公司的权限,就有可能通过内网横向移动拿下主公司的权限,从而轻松拿下整个目标
- 摸清了组织结构,还可以采用自上而下的打法:如果已经拿下了A公司的权限,也收集了组织结构信息,那么还可以进一步攻击A公司的子公司。因为A公司中很有可能就保存了子公司的一些重要敏感数据,密码凭据等等,而且内网也很可能是连通的,也可以尝试内网横向移动,从而扩大渗透成果,爽拿数据分和权限分
收集方法
股权收集法
以华为为例,使用爱企查看股权穿透图,收集子公司信息,(更具体的信息需要开会员)


股权占比小于50%的就不用看了,因为关联性已经不太强了

这样我们就能摸清目标在整个主体中处于什么位置,以及与其他公司的关系,获得了更多的子公司名。接下来,只需手动筛选出所有的股权占比大于50%的子公司名字,全部记录下来存为company.txt,还有搞清楚目标在整个主体中处于什么位置,组织结构的收集就基本完成了
关键人物收集法
还可以从关键人物出发,去寻找更多子公司信息
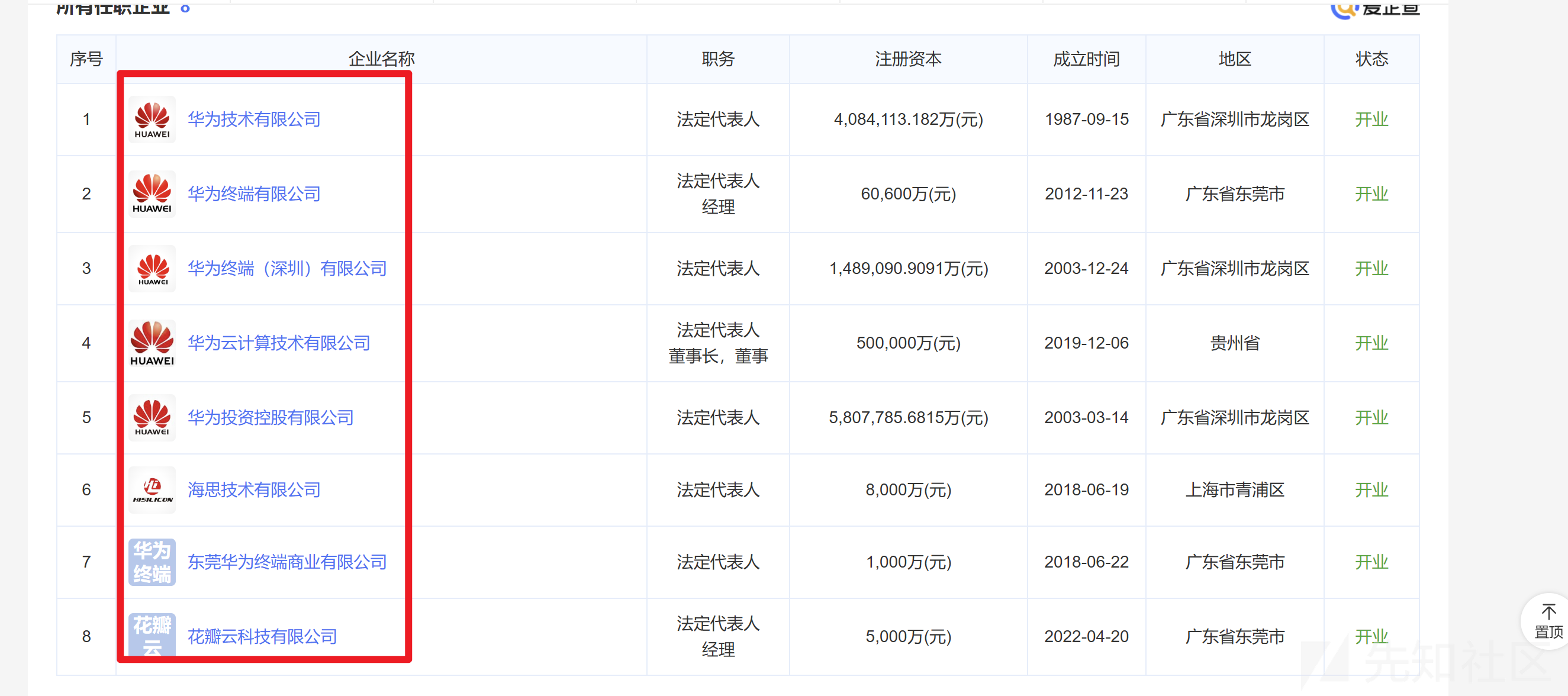
比如从华为的法人入手,查看他代表的公司:


以及从华为的高管入手:

得到的结果能与上面提到的股权收集法互相补充
到此我们就得到了目标集团的所有股权占比较大的子公司名,保存为company.txt,后面有用
# company.txt # 为了便于演示,我就只列举几个 华为技术有限公司 华为投资控股有限公司 深圳市华为电气股份有限公司 深圳市华为技术软件有限公司 ......
工具
- 爱企查:https://aiqicha.baidu.com/
主域名收集
收集主域名就是利用前面组织结构收集到的子公司名company.txt ,进一步分别收集他们公司的主域名,这是环环相扣的,只有组织结构收集收集得越全,收集到的主域名才会越多,攻击面才越广,才越有可能拿下目标
ICP备案
官网查询接口
在中国想正规搭建网站都是需要ICP备案的,于是我们可以利用官方ICP备案查询公司名,得到其主域名

非常的多,点击详情就能看到该公司的主域名

该方法适合于子公司比较少的情况,因为该官网查询接口,有图形汉字验证码,不太好批量提取出子公司的主域名,只能手动复制下来,适合于小型目标
第三方程序查询接口

这个第三方程序查询接口好处是无验证码,可以批量提取出所有子公司的主域名,适用于大型目标,但是缺点是没有官网查询接口更新的快
使用icpsearch工具就能批量爬下来了
icpsearch -f compoany.txt

得到的结果再使用Sublime Text正则匹配一下域名就行了,Ctrl+F 输入正则表达式,勾选Find All选中全部,再右键复制全部
([a-zA-Z0-9-]+\.)+[a-zA-Z]{2,}


这样就提取出了域名

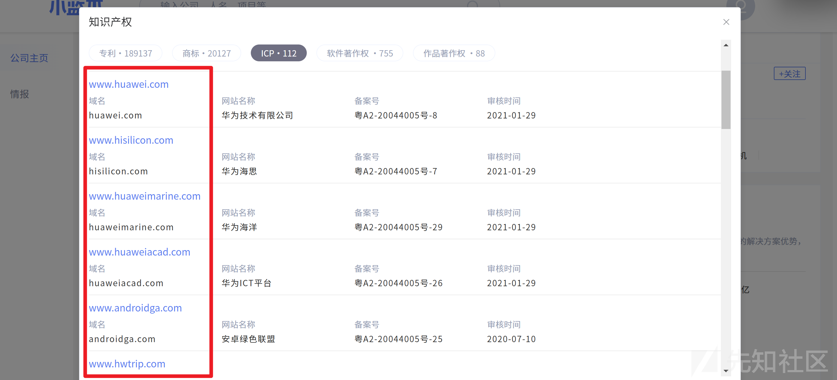
小蓝本
使用小蓝本也可以快速收集主域名,只不过也不能一次性的查所有子公司的主域名,不过可以写脚本爬取
来到知识产权,一键获取ICP备案


手动复制一下,保存本地,再使用Sublime Text正则提取出主域名


到此我们就通过company.txt收集到了很多的子公司的主域名,保存为domain.txt,后面有用
# domain.txt androidga.com www.hwtrip.com hwtrip.com www.huaweils.com huaweils.com www.smartcom.cc smartcom ......
工具
- ICP备案官网:https://beian.miit.gov.cn/
- ICP第三方查询:https://www.beianx.cn/
- ICP批量爬取工具:https://github.com/A10ha/ICPSearch
- Sublmie Text:https://www.sublimetext.com/
- 小蓝本:https://sou.xiaolanben.com/
子域名收集
网络测绘引擎
- fofa
domain ="主域名" || cert="公用名" || cert="组织名1" || || cert="组织名2" || cert="组织名3" ......
我习惯使用fofa查询,其他网络测绘搜索引擎也可以
domain是通过域名查,能查到web资产与非web资产,cert是通过证书查,只能查web资产,二者使用" || "结合拼接,会得到更多的子域名资产
综合语法
比如还是以华为为例:huaweiyun.com
domain="huaweiyun.com"

仅仅使用domain ="主域名" 能查到4条子域名,如果加上cert证书查询语法呢?
domain="huaweiyun.com" || cert="huaweiyun.com"

资产直接多了一倍!那么可想而知,如果使用网络测绘引擎收集资产不使用cert查询语法的话,会错过很多的隐蔽资产
那么到这里就结束了吗?并没有
刚才我们只是使用了domain ="主域名" || cert="公用名"还没有考虑到其他公用名,和更多的组织名!
注意!公用名大多数时候就是网站的主域名或子域名,而同一个主域名的资产可能有多个组织名,于是我们都要尽可能多的找出来
怎么找公用名和组织名呢?我的方法是手动翻找https站点的证书
比如,点击查看几个https站点的证书详情



这里就找到了新的公用名和组织名!

huaweicloud.com Huawei Software Technologies Co., Ltd.
继续拼接到fofa的cert语法中去,看看会发生什么?
domain="huaweiyun.com" || cert="huaweicloud.com" || cert="Huawei Software Technologies Co., Ltd."

好家伙直接干到了89830条!不得不说是真的很全,但是这么多资产也不方便测试,这里只是说可以用这种cert查询方式收集到更多的资产,扩大攻击面,实际肯定要根据情况而定,要学会灵活变通。像华为这种超级大型企业,资产本身就不少,所以不太适合使用证书查询,因为太多了,更多的适用于资产在几千条以内的中小型企业、政党单位、高校等等
批量
相信师傅注意到了,我们上面不是收集了大量的domain.txt吗,但是刚刚演示时只选取了其中一条来查询子域名,如何批量查询domain.txt的全部子域名呢?我是这么做的:
写了一个脚本,读取domain.txt,直接批量拼接成domain ="主域名1" || cert="公用名1" || domain ="主域名2" || cert="公用名2" || domain ="主域名3" || cert="公用名3" ||……这种格式,再丢到fofa去查询
为什么这样拼接呢,就是因为公用名大多数时候就是其主域名或子域名,使用"||"连接就能查到更多的资产了
脚本-join.py
python join.py
# 读取 domain.txt 文件并拼接数据
def read_and_concatenate(file_path):
try:
with open(file_path, 'r') as file:
# 读取文件中的每一行,去掉空格和换行符
lines = [line.strip() for line in file if line.strip()]
# 使用 ' || ' 连接每行数据
result = ' || '.join([f'domain="{line}" || cert="{line}"' for line in lines])
print(result)
except FileNotFoundError:
print(f"文件 {file_path} 未找到。")
except Exception as e:
print(f"发生错误: {e}")
# 调用函数并传入文件路径
read_and_concatenate('domain.txt')
- 域名太多只演示部分

domain="www.openinula.net" || cert="www.openinula.net" || domain="www.huaweiirad.com" || cert="www.huaweiirad.com" || domain="www.bescloud.com.cn" || cert="www.bescloud.com.cn" || domain="www.bescloud.cn" || cert="www.bescloud.cn" || domain="www.gneec3.cn" || cert="www.gneec3.cn" || domain="www.gneec5.cn" || cert="www.gneec5.cn" ||domain="www.gneec4.cn" || cert="www.gneec4.cn" ||domain="www.appcubecloud.com.cn"||cert="www.appcubecloud.com.cn" || domain="www.besclouds.com.cn" || cert="www.besclouds.com.cn"||domain="www.besclouds.cn"||cert="www.besclouds.cn" || domain="www.gtscsm.com" || cert="www.gtscsm.com" || domain="www.appcubecloud.cn" || cert="www.appcubecloud.cn"|| domain="www.vrbtcloud.cn" || cert="www.vrbtcloud.cn"
但是师傅也发现了这样还缺少通过组织名查询,于是我们还要手动地去翻找https站点的证书,或者再结合接下来"英文证书查询"方法,手动复制出公用名+组织名,也拼接到cert语法中。因为大量资产的公用名+组织名都是一致的,所以手动就行了
domain="www.openinula.net" || cert="www.openinula.net" || domain="www.huaweiirad.com" || cert="www.huaweiirad.com" || domain="www.bescloud.com.cn" || cert="www.bescloud.com.cn" || domain="www.bescloud.cn" || cert="www.bescloud.cn" || domain="www.gneec3.cn" || cert="www.gneec3.cn" || domain="www.gneec5.cn" || cert="www.gneec5.cn" ||domain="www.gneec4.cn" || cert="www.gneec4.cn" ||domain="www.appcubecloud.com.cn"||cert="www.appcubecloud.com.cn" || domain="www.besclouds.com.cn" || cert="www.besclouds.com.cn"||domain="www.besclouds.cn"||cert="www.besclouds.cn" || domain="www.gtscsm.com" || cert="www.gtscsm.com" || domain="www.appcubecloud.cn" || cert="www.appcubecloud.cn"|| domain="www.vrbtcloud.cn" || cert="www.vrbtcloud.cn" || cert="huaweicloud.com" || cert="Huawei Software Technologies Co., Ltd."

注意
all模式开启
使用网络测绘引擎,还需要注意的是,不要忘记开启all模式,因为查询结果默认情况下只有一年内的结果,开启all模式就能查到更多的资产,更有概率发现隐蔽资产!
但是需要开会员,呜呜贵贵~

格式处理
导出fofa结果时有一个问题就是资产格式有点混乱、不够统一,比如这样

URL列中同时有https+域名的,又有https+ip的,还有不带http协议头的纯域名与纯ip的格式,这样不便于后面分别的信息收集,因为纯域名会用来做c段整理,纯ip用来端口扫描,带协议头的URL用来测活或者爬取js,漏扫等等……于是需要处理格式,把他们分离出来
还是使用脚本处理
脚本-format.py
输入input.txt-格式混乱的url列 ,输出subdomain-1.txt-子域名,url-1.txt-url。ip就不用分离了,fofa本身能导出格式整齐的ip列
python format.py
import re
import chardet
# 自动检测文件编码
def detect_encoding(filename):
with open(filename, 'rb') as file:
result = chardet.detect(file.read())
return result['encoding']
# 读取文件并处理内容
def process_file(input_file, subdomain_file, url_file):
encoding = detect_encoding(input_file)
# 打开input.txt文件并读取每一行
with open(input_file, 'r', encoding=encoding) as file:
lines = file.readlines()
# 准备两个列表来存储不同的输出内容
subdomains = []
urls = []
# 定义一个正则表达式来匹配特定的IP地址URL
specific_ip_url_pattern = re.compile(r'http[s]?://127\.0\.0\.1(:\d+)?/?')
# 处理每一行数据
for line in lines:
# 去除两端的空格和换行符
line = line.strip()
# 检查URL是否是特定的IP地址URL
if specific_ip_url_pattern.match(line):
# 如果是,则直接写入url.txt
urls.append(line)
else:
# 检查URL是否基于IP地址,如果是则跳过
if re.match(r'http[s]?://\d{1,3}(\.\d{1,3}){3}(:\d+)?/?', line):
continue # 如果当前行是基于IP的URL,跳过不处理
# 检查并处理每种情况
if line.startswith('http://'):
subdomains.append(line[7:]) # 从'http://'后面开始截取
urls.append(line) # 保持原样
elif line.startswith('https://'):
subdomains.append(line[8:]) # 从'https://'后面开始截取
urls.append(line) # 保持原样
else:
subdomains.append(line) # 没有协议头,直接使用
urls.append('http://' + line) # 添加'http://'
urls.append('https://' + line) # 添加"https://"
# 将处理后的数据写入相应的文件
with open(subdomain_file, 'w', encoding=encoding) as file:
for subdomain in subdomains:
file.write(subdomain + '\n')
with open(url_file, 'w', encoding=encoding) as file:
for url in urls:
file.write(url + '\n')
# 调用处理函数
process_file('input.txt', 'subdomain.txt', 'url.txt')


还有一点需要注意,就是有些站点只能使用https访问,有些又只能使用http访问,有些都可以,而且使用http访问原本是https的站点还有可能绕过waf,于是整理格式生成url.txt时,最好把每个域名都添加上http+https,这样资产更全,但是也可根据实际情况而定,只要http或者只要https的,只需在脚本中注释即可
# 检查并处理每种情况
if line.startswith('http://'):
subdomains.append(line[7:]) # 从'http://'后面开始截取
urls.append(line) # 保持原样
elif line.startswith('https://'):
subdomains.append(line[8:]) # 从'https://'后面开始截取
urls.append(line) # 保持原样
else:
subdomains.append(line) # 没有协议头,直接使用
urls.append('http://' + line) # 添加'http://'
#urls.append('https://' + line) # 添加"https://"
不过还好fofa中导出的ip格式是规范的,就不需要处理了,直接复制下来,保存为 ip-1.txt
到此我们就通过domain.txt得到了 subdomain-1.txt url-1.txt ip-1.txt了保存备用,后面会合并去重
英文证书查询
除了fofa中的证书查询,还可以使用crt.sh查询网站查询证书为英文名的资产,这样也能找到很多隐蔽资产!二者可以相互补充,并且这种方式可以得到大量公用名、组织名,也可以手动拼接上述语法中去!
查询方式
q模式
?q=huawei.com
比较精准的模式

o模式
?o=huawei
模糊查询模式

o模式有些情况下查不出来
批量
还是写脚本,批量正则提取一下common name公用名,因为公用名大多数时候就是域名或子域名,于是这种方式也能直接得到许多隐蔽资产,许多挖SRC的大佬就是直接使用crt.sh开怼的!
脚本-crt.sh.py
python crt.sh.py
import re
import requests
def extract_unique_common_names(url):
try:
# 自定义 User-Agent 头
headers = {
"User-Agent": "Mozilla/5.0 (Windows NT 10.0; Win64; x64) AppleWebKit/537.36 (KHTML, like Gecko) Chrome/114.0.0.0 Safari/537.36"
}
# 获取页面内容
response = requests.get(url, headers=headers)
response.raise_for_status() # 检查是否请求成功
html_content = response.text
# 提取 <TD> 标签中以 .cn, .com, .org, .net 结尾的内容
common_names = re.findall(r'<TD.*?>([^<]*\.(?:cn|com|org|net))</TD>', html_content, re.S)
# 去重处理
unique_common_names = set(common_names)
# 输出提取的公用名
if unique_common_names:
print("Extracted Unique Common Names:")
for name in unique_common_names:
print(name.strip()) # 去掉前后的空格
else:
print("No Common Names found.")
except requests.RequestException as e:
print(f"Error fetching URL: {e}")
# 调用函数并传入 URL
url = "https://crt.sh/?q=baidu.com" # 替换为实际的查询目标和模式
extract_unique_common_names(url)

格式处理
还是如法炮制,把这些域名复制下来,使用刚才的格式处理format.txt脚本生成带有协议头的url资产和不带协议头的子域名资产
到此我们又得到了subdomain-2.txt url-2.txt
oneforall
这位更是重量级,从名字都能看出来,这个工具集成了网上提到的所有收集子域名的方式,是的所有!crt.sh查找、VT查找、百度谷歌语法、各种测绘引擎,各种查询接口,子域名爆破,host碰撞,dns域传送,dns查询,子域名接管,fuzz等等一系列的方法!
但是如何最大化利用好oneforall呢?需要进行各种外调api配置,各种模块开启,才能发挥它的最大功效
也就是去config目录,把配置文件中的能配置的api(有些要收费,可以选择不配),都配置一下,各个模块启动一下


python oneforall.py --target huaweiyun.com run python oneforall.py --targets domain.txt run
格式处理
以huaweiyun.com单个目标做演示,实际是对整个domain.txt中的主域名批量找子域名,但是如果太多也可以自由取舍。
oneforall的结果就比较规范了,不需要处理了

到此我们就又通过domain.txt得到了 subdomain-3.txt url-2.txt ip-2.txt
去重
接下来,把subdomain-1.txt url-1.txt ip-1.txt subdomain-2.txt url-2.txt subdomain-3.txt url-3.txt ip-2.txt分别合并为
subdomain.txt url.txt ip.txt 再去重就行
这样在收集了子域名的同时,也收集了整理了URL和IP资产,用于接下来的信息收集
工具
- FOFA:https://fofa.info/
- 英文证书查询:https://crt.sh/
- oneforall:https://github.com/shmilylty/OneForAll
- 去重:https://www.iamwawa.cn/quchong.html
[2]资产扩展阶段:进一步收集更多隐蔽的资产
端口收集
上面收集了大量的主域名,子域名,已经得到了大量初步资产,但是我们都知道一个服务器可以开65535个端口,对于有些不富裕的目标来说,他们往往会在一个服务器上开放多个端口,部署多个web资产,于是端口收集就显得特别重要,这能帮我们进一步打开攻击面,发现更多的比较隐蔽的资产。于是我们对前面收集整理到的ip.txt进行全端口扫描!这里就体现了前面为什么要整理好格式了
端口扫描的话,我们使用fscan来做,同时还能进行基础的漏洞扫描和弱口令爆破
fscan.exe -hf ip.txt -t 3000 -p 1-65535 -num 100 -np -o result.txt

扫描时间比较长,建议放在国外的VPS上后台运行完成
扫描完成之后,fscan的输出格式比较混乱,不便于进行数据整理,于是还可以使用下fscanoutput.py这个脚本,进行扫描结果归类整理
python fscanOutput.py result.txt
工具
- fscan:https://github.com/shadow1ng/fscan
- fscanoutput:https://github.com/ZororoZ/fscanOutput
C段收集
但是,我们有时候也不要忘记收集,C段,为什么呢?因为很多大型目标购买ip资产时都是按照C段来买的,比如220.111.222.1/24这个C段可能就是全部属于某一个大型目标的,同时,在一些情况下,有些ip资产不易被常规的收集方法找到,这会导致我们漏掉一些隐蔽的资产。比如有些ip资产既没有证书,也没有配置域名,那么这种情况,我们无脑地去扫描目标的几个C段,探测该C段下,有哪些ip存活,存活的ip又有哪些端口开放……这样就又有可能发现一些更加隐蔽的ip资产,从而发现更多潜在的攻击面!但是如果目标是小型目标,那么不推荐收集C段,因为在同一个C段中,属于该目标的ip资产压根就不多,很容易打偏!
那么怎么收集目标的C段呢?
推荐使用Eeyes根据目标的域名列表,整理目标的C段,这里又用到了前面收集整理的 subdomain.txt
该工具会优先排除架设有CDN的资产,然后再进行C段整理
Eeyes -l subdomain.txt

根据整理结果手动选择几个存活ip比较多的C段,保存为c.txt

拿到这些C段之后,下一步干什么呢,当然是端口扫描啊,也就是与上面的ip.txt,合并为ip_c.txt 还是交给fscan全端口扫描
fscan.exe -hf ip_c.txt -t 3000 -p 1-65535 -num 100 -np -o result.txt
最后,再补充一点,就是有些情况下,资产严格绑定了域名,就是比如域名是test.com:8080,其ip是111.222.333.444:8080,但是访问111.222.333.444:8080是无法访问的,于是为了万无一失,还可以把subdomain.txt也加进去,进行全端口扫描
fscan.exe -hf ip_c_subdomain.txt -t 3000 -p 1-65535 -num 100 -np -o result.txt
等待fscan扫描完成后,就有可能发现更多的web资产,再把他们合并入url.txt中,这样操作下来,url.txt的资产就更全了!
工具
- Eeyes:https://github.com/EdgeSecurityTeam/Eeyes
HOST碰撞
当然,既然是"进一步收集更多隐蔽的资产",那肯定少不了HOST碰撞。前面不是已经收集整理到了 subdomain.txt 以及 ip_c.txt 吗,那我们再把subdomain.txt 去批量解析一下域名,记录下无法正常解析的域名,就作为待碰撞的域名字典,ip_c.txt一般不算太多,于是可以直接全部拿去碰撞,或者手工筛选出几个也是OK的
脚本-domain_auth.py
import socket
def check_domain_resolution(domain):
try:
# 尝试获取域名对应的IP地址
ip = socket.gethostbyname(domain)
return True
except socket.gaierror:
# 如果发生解析错误,说明该域名无法解析
return False
def main():
# 读取子域名文件
input_file = 'subdomain.txt'
output_file = 'result.txt'
with open(input_file, 'r') as file:
domains = [line.strip() for line in file.readlines()]
# 检查每个域名的解析情况
unresolved_domains = []
for domain in domains:
if not check_domain_resolution(domain):
print(f"无法解析的域名: {domain}")
unresolved_domains.append(domain)
# 将无法解析的域名写入到result.txt
if unresolved_domains:
with open(output_file, 'w') as result_file:
for domain in unresolved_domains:
result_file.write(f"{domain}\n")
print(f"解析异常的域名已写入 {output_file}")
else:
print("所有域名均能解析")
if __name__ == '__main__':
main()
经过HOST碰撞后,运气好的话直接就撕开口子了,可能发现一些敏感脆弱的资产
具体host碰撞的原理与利用这里不展开讨论,可以看笔者的这一篇文章:如何HOST碰撞挖掘隐蔽资产
工具
- HostCollision:https://github.com/pmiaowu/HostCollision
- Hosts_scan:https://github.com/fofapro/Hosts_scan
[3]资产梳理阶段:接下来就行测活与指纹识别,便于我们快速梳理攻击面,发现薄弱点
测活+指纹识别
目前我们已经得到了经过了整合的url.txt,为了更全一点,我们把之前整理的ip.txt也加入进去,加入之前,先给每一个ip加上http协议头
脚本ipadd.py
# 打开输入文件
with open("input.txt", "r") as input_file:
# 读取文件内容并按行分割
ip_addresses = input_file.read().splitlines()
# 打开输出文件
with open("output.txt", "w") as output_file:
# 遍历每个 IP 地址
for ip in ip_addresses:
# 添加 http:// 前缀
http_ip = "http://" + ip
# 添加 https:// 前缀
https_ip = "https://" + ip
# 将结果写入输出文件
output_file.write(http_ip + "\n")
output_file.write(https_ip + "\n")
python ipadd.py
然后再次对url.txt进行去重,就得到了web.txt--经过了多次整理得到的最终的web总资产
然后,下一步是什么呢?这些大量web资产不一定都可访问,不一定都是存活的,于是我们需要进行存活探测,于是使用一款指纹识别的工具,在指纹识别的同时也就做了存活探测了,而且指纹的识别也对我们快速打点发现漏洞切入点有极大的帮助,识别出指纹,我们就能从大量杂乱无章的资产中,优先地看一些历史漏洞比较多的CMS,或者OA系统的资产,这样就有可能快速发现Nday,一把梭了~
使用TideFInger或者Ehole做指纹识别
TideFinger -uf web.txt -nobr -nopoc TideFinger -uf web.txt

ehole.exe finger -l web.txt

工具
- TideFinger:https://github.com/TideSec/TideFinger_Go
- Ehole:https://github.com/EdgeSecurityTeam/EHole
[4]自动化扫描阶段:在开始对具体目标开展更详细更有针对性的信息收集前,可以先批量跑一下漏洞扫描器,虽然对一些经常被人测试的SRC目标来说,漏洞几乎无法发现漏洞了,但是不代表漏扫就没用。比如攻防演练时,漏扫还是很重要的,没有扫出nday的目标,就比较难以打穿了,只能要么0day,要么钓鱼了
自动化扫描
也没啥好说的,就是用工具就行,这里还是推荐几个最常用的漏洞扫描器
nuclei.exe -list test.txt -o output.txt
afrog -T urls.txt
#批量添加目标 python awvs.py
#批量添加目标 python xray.py -r test.txt # 爬取单个目标 xray.exe webscan --basic-crawler http://xxxx.com/ --html-output output-a.html # 监听7777端口,与Brup联动 xray.exe webscan --listen 127.0.0.1:7777 --html-output output-b.html
Goby

[5]重点目标针对收集阶段:经过了前面的资产发现与扩展整理阶段,我们已经梳理出了一些重点资产,比如是经典框架系统,CMS,OA系统,有登录框,可注册,SSO系统等等……于是接下来就是对这些重点目标进行针对性的深度信息收集了。为什么把架构搜集放在最前面呢,因为假设目标使用了CDN,反向代理,负载均衡,那我们在没搞清楚架构的情况下,就去渗透测试,端口扫描,内网渗透,那将是毫无意义的或者收效甚微的
架构信息
反向代理
- 介绍
反向代理是指代理服务器接收客户端请求,并将请求转发到一个或多个后端服务器上。通过使用反向代理,可以实现负载均衡、安全增强、SSL终止、缓存等功能。例如,当多个后端服务器承载高并发请求时,反向代理可以智能地分发请求,以减少单个服务器的负担,从而提升系统的性能和可用性。
- 识别
使用 Wappalyzer 浏览器插件可以帮助识别网站是否使用了反向代理。Wappalyzer会分析网站的架构信息,并显示使用的技术栈、服务器以及潜在的代理信息。
负载均衡
- 介绍
为了防止访问拥塞,减少主服务器的负担,多个负载均衡服务器监听公共网络接口,接收来自客户端的请求,然后将这些请求转发到内网的多个后端服务器端口。负载均衡不仅可以提高访问速度,还能增强系统的容错能力,避免某一个服务器的故障影响整个网站的可用性。
- 识别
可以使用 lbd 工具(Kali Linux自带)来识别负载均衡服务器。该工具通过分析目标服务器的响应特征,帮助判断是否存在负载均衡机制。
站库分离
- 介绍
站库分离是一种将网站前端和数据库后端分离的架构设计。这样,即使攻击者成功入侵了网站服务器,仍然无法直接访问数据库中的敏感数据,因为数据库服务器是独立的。这种分离不仅增强了安全性,还使得网站的维护和扩展变得更加灵活。
CDN
- 介绍
为了提升访问体验,在多个地点部署CDN(内容分发网络)服务器,可以自动将用户的请求路由到离其最近的服务器节点,从而就近为用户提供服务。CDN可以有效地提高网站的加载速度和访问稳定性,尤其适用于全球范围内的用户。
- 识别
可以通过 多地ping 工具(17ce)测试不同地理位置的延迟来识别是否使用了CDN。若目标网站使用CDN,通常在不同区域的访问速度和延迟差异较大。
绕过方法:
- 使用 全球ping(ipip.net)
- 从子域名入手
- 查找历史DNS解析记录(IP138)
- 使用接口查询(Get-site-ip)
- 使用反向邮件
- FuckCDN 工具(GitHub)
- 使用 fofa 搜索引擎
- 利用 SSRF 漏洞
- 使用 phpinfo.php 探针
WAF(Web Application Firewall)
- 介绍
WAF是专门用于防御HTTP请求中的恶意流量的安全防护工具。通过使用WAF,网站能够有效抵御SQL注入、跨站脚本攻击(XSS)等常见Web攻击。
- 识别
可以使用 wafw00f 工具来识别目标网站是否使用了WAF。此外,结合视觉分析(看图识别)也能帮助识别是否存在WAF。
经架构信息打点后,可能会遇到绕过挑战,例如绕过CDN、WAF和反向代理等保护机制。在这时,进一步的源码信息收集变得尤为重要。若网站使用CMS,或源码泄露,渗透测试就可以直接上升为白盒测试,或者直接利用现成的漏洞进行攻击,省去了大部分的打点步骤。
源码信息
CMS(内容管理系统)
闭源售卖
- 还可以通过一些渠道(如黑源码网站、Google 搜索和正规源码网站)来寻找潜在的源码泄露,尤其是在闭源项目中,源码泄露能为攻击者提供直接的攻击方式。
泄露
- index of 目录遍历漏洞
- githack (GitHack)
- svnhack (SvnHack)
- ds_store (ds_store_exp)
- GitHub泄露
- 网盘泄露
经源码信息打点后,若未能收获有价值的信息,接下来只能进行黑盒测试,进一步搜集网站的基本信息。
网站基本信息
语言
- 可以使用 Wappalyzer 工具分析网站所使用的编程语言。
数据库
- 使用 Wappalyzer 或 fofa 进行数据库类型的识别。
web容器
- 同样,Wappalyzer 和 fofa 可以帮助识别网站使用的Web容器(如Apache、Nginx等)。
操作系统
- 可以通过对目标服务器进行大小写测试和Ping TTL值分析,间接推测目标服务器使用的操作系统。
经网站基本信息打点后,已经掌握了大部分网站的构成信息。接下来可以进入更深层次的信息挖掘。
网站深度信息
目录
- fuff (GitHub)
- 7kbscan (7kbscan-WebPathBrute)
- dirsearch(Kali自带)
强烈推荐 FUFF 简直是FUZZ神器!
JS接口
进入API测试
本地浏览器控制台一键下载网站js文件的脚本
downloadjs.py
// Function to download a file
function downloadFile(filename, content) {
const blob = new Blob([content], { type: 'application/javascript' });
const link = document.createElement('a');
link.href = URL.createObjectURL(blob);
link.download = filename;
document.body.appendChild(link);
link.click();
document.body.removeChild(link);
}
// Function to fetch external JS file and download it
async function fetchAndDownload(url, defaultFilename) {
try {
const response = await fetch(url);
const content = await response.text();
const filename = url.split('/').pop() || defaultFilename;
downloadFile(filename, content);
console.log(`Downloaded external JS file: ${filename}`);
} catch (error) {
console.error(`Failed to download ${url}: ${error}`);
}
}
// Function to download all JavaScript code found in the document
async function downloadAllJS() {
// Collect all <script> elements in the document
const scripts = Array.from(document.querySelectorAll('script'));
let inlineCounter = 1;
for (const script of scripts) {
if (script.src) {
// Case 2: External JS file
await fetchAndDownload(script.src, `external-script-${inlineCounter}.js`);
} else if (script.textContent) {
// Case 1 & 3: Inline JS code (could include Webpack bundled code)
const filename = `inline-script-${inlineCounter}.js`;
downloadFile(filename, script.textContent);
console.log(`Downloaded inline JS as: ${filename}`);
inlineCounter++;
}
}
}
// Run the function to download all JS files
downloadAllJS();
提取js接口的脚本
findapi.py
import json
import re
import requests
import sys
import os
headers = {
"User-Agent": "Mozilla/5.0 (X11; Linux x86_64) AppleWebKit/537.36 (KHTML, like Gecko) Chrome/76.0.3809.132 Safari/537.36Mozilla/5.0 (X11; Linux x86_64) AppleWebKit/537.36 (KHTML, like Gecko) Chrome/77.0.3865.90 Safari/537.36"}
fileurl = sys.argv[1]
# 根据传入的文件名确定目录名
filemkdir = fileurl.split('_')[0]
# 确保目录存在
if not os.path.exists(filemkdir):
os.makedirs(filemkdir)
# 获取路径
paths = []
for dirpath, dirnames, filenames in os.walk(filemkdir):
for file in filenames:
file_path = os.path.join(dirpath, file)
try:
with open(file_path, "r", encoding='gb18030', errors='ignore') as f2:
for line in f2:
line = line.strip('\n').strip('\t')
p = re.findall(r'''(['"]\/[^][^>< \)\(\{\}]*?['"])''', line)
if p:
for path in p:
path = path.replace(':"', "").replace('"', "")
paths.append(file + "---" + path)
except FileNotFoundError:
print(f"File not found: {file_path}")
except Exception as e:
print(f"Error reading file {file_path}: {e}")
# 写入提取到的路径
output_file = fileurl + '_path.txt'
with open(output_file, "a+", encoding='gb18030', errors='ignore') as output:
for var in sorted(set(paths)):
output.write(var + '\n')
- JSfinder
- packer-fuzzer
- URLfinder
快照
- 网站时光机 (Wayback Machine)
插件信息
- Wappalyzer 可以帮助识别网站中所用的插件信息。
第三方接口信息
- Wappalyzer 可以识别第三方接口信息,例如支付接口、社交登录等。
旁站
- 使用 旁站 工具分析潜在的旁站资源。
端口服务
- nmap(Kali自带)可以扫描网站开放的端口,并进一步识别服务信息。
- railgun(推荐,速度快)
| 端口号 | 服务 | 攻击方式 | 常见漏洞 |
|---|---|---|---|
| 21 | FTP | 弱口令爆破、匿名登录、目录遍历 | 未授权访问、FTP暴露敏感文件 |
| 22 | SSH | 弱口令攻击、公私钥猜测、利用旧版本漏洞 | CVE-2018-15473 (用户名枚举漏洞) |
| 23 | Telnet | 弱口令爆破、明文通信窃听 | 未授权访问、会话劫持 |
| 25 | SMTP | 邮件伪造、开放中继测试 | 未授权中继、CVE-2015-0235 (GHOST 漏洞) |
| 53 | DNS | DNS 缓存中毒、域传送漏洞 | DNS 放大攻击、未授权域传送 |
| 80 | HTTP | SQL 注入、XSS、CSRF、路径穿越 | Web 应用漏洞,如 SQLi、CVE-2021-12345(假设 Web 服务漏洞) |
| 110 | POP3 | 弱口令攻击、邮件劫持 | 未授权访问、明文传输 |
| 143 | IMAP | 邮件劫持、弱口令攻击 | 未授权访问 |
| 443 | HTTPS | SSL/TLS 漏洞利用 (如 Heartbleed)、中间人攻击 | Heartbleed (CVE-2014-0160) |
| 3306 | MySQL | 弱口令攻击、SQL 注入 | 未授权访问、CVE-2012-2122 (MySQL 身份验证绕过漏洞) |
| 3389 | RDP | 弱口令爆破、会话劫持、远程桌面协议利用 | CVE-2019-0708 (BlueKeep) |
| 6379 | Redis | 未授权访问、配置文件写入攻击 | 未授权访问,RCE(写 SSH 公钥) |
| 8080 | HTTP Proxy/Tomcat | 未授权访问、弱口令爆破、路径穿越 | Apache Tomcat CVE-2017-12615 (PUT 文件上传漏洞) |
| 445 | SMB | SMB 漏洞利用 (如 EternalBlue)、弱口令攻击 | EternalBlue (CVE-2017-0144)、SMBRelay |
| 135 | RPC/DCOM | RPC 漏洞利用 | CVE-2003-0352 (MS03-026 RPC 漏洞) |
| 1433 | MSSQL | 弱口令攻击、数据库注入 | 未授权访问,CVE-2019-1068 (SQL Server RCE) |
| 1521 | Oracle DB | 弱口令爆破、TNS 协议漏洞利用 | CVE-2012-1675 (TNS Listener 泄漏漏洞) |
| 2049 | NFS | 未授权访问、敏感数据读取 | NFS 配置错误,导致敏感数据暴露 |
| 5060 | SIP | SIP 协议劫持、放大攻击 | 未授权访问,SIP 劫持导致话费损失 |
| 11211 | Memcached | Memcached 放大攻击 | Memcached 未授权访问导致流量放大攻击 |
经网站具体信息打点后,基本上已经掌握了大部分的信息。若幸运的话,可能已经发现了漏洞,或者找到了攻击路径。如果还没有突破,可以考虑社工信息收集,但其成功几率相对较小。
网盘信息
有时候网盘信息也有可能泄露敏感信息……
这里我把github也归类为"网盘"
- Github语法
利用Github语法检索敏感信息
in:name test #仓库标题搜索含有关键字 in:descripton test #仓库描述搜索含有关键字 in:readme test #Readme文件搜素含有关键字 stars:>3000 test #stars数量大于3000的搜索关键字 stars:1000..3000 test #stars数量大于1000小于3000的搜索关键字 forks:>1000 test #forks数量大于1000的搜索关键字 forks:1000..3000 test #forks数量大于1000小于3000的搜索关键字 size:>=5000 test #指定仓库大于5000k(5M)的搜索关键字 pushed:>2019-02-12 test #发布时间大于2019-02-12的搜索关键字 created:>2019-02-12 test #创建时间大于2019-02-12的搜索关键字 user:test #用户名搜素 license:apache-2.0 test #明确仓库的 LICENSE 搜索关键字 language:java test #在java语言的代码中搜索关键字 user:test in:name test #组合搜索,用户名test的标题含有test的 site:Github.com smtp site:Github.com smtp @qq.com site:Github.com smtp @126.com site:Github.com smtp @163.com site:Github.com smtp @sina.com.cn site:Github.com smtp password site:Github.com String password smtp site:Github.com smtp @baidu.com site:Github.com sa password site:Github.com root password site:Github.com User ID=’sa’;Password site:Github.com inurl:sql site:Github.com svn site:Github.com svn username site:Github.com svn password site:Github.com svn username password site:Github.com password site:Github.com ftp ftppassword site:Github.com 密码 site:Github.com 内部
Github监控

- 凌风云
- gitlab
- 码云
- 语雀
- 其他网盘
工具
- gitdorks_go:https://github.com/damit5/gitdorks_go
- GitDorker:https://github.com/obheda12/GitDorker
社工信息
社工信息收集主要依赖人工去查找,目标是找出与目标相关的域名服务商、服务器供应商、网站管理员和开发人员等信息。
善用:
- goole语法
PHP后缀参数 site:baidu.com ext:php inurl:? openbugbounty关于该域名的报告 site:openbugbounty.org inurl:reports intext:"baidu.com" 敏感信息后缀 site:"baidu.com" ext:log | ext:txt | ext:conf | ext:cnf | ext:ini | ext:env | ext:sh | ext:bak | ext:backup | ext:swp | ext:old | ext:~ | ext:git | ext:svn | ext:htpasswd | ext:htaccess 易受XSS攻击的参数 inurl:q= | inurl:s= | inurl:search= | inurl:query= | inurl:keyword= | inurl:lang= inurl:& site:baidu.com 开放重定向参数 inurl:url= | inurl:return= | inurl:next= | inurl:redirect= | inurl:redir= | inurl:ret= | inurl:r2= | inurl:page= inurl:& inurl:http site:baidu.com sql报错参数 inurl:id= | inurl:pid= | inurl:category= | inurl:cat= | inurl:action= | inurl:sid= | inurl:dir= inurl:& site:baidu.com SSRF易发参数 inurl:http | inurl:url= | inurl:path= | inurl:dest= | inurl:html= | inurl:data= | inurl:domain= | inurl:page= inurl:& site:baidu.com LFI常见参数 inurl:include | inurl:dir | inurl:detail= | inurl:file= | inurl:folder= | inurl:inc= | inurl:locate= | inurl:doc= | inurl:conf= inurl:& site:baidu.com RCE常见参数 inurl:cmd | inurl:exec= | inurl:query= | inurl:code= | inurl:do= | inurl:run= | inurl:read= | inurl:ping= inurl:& site:baidu.com 敏感关键字 inurl:config | inurl:env | inurl:setting | inurl:backup | inurl:admin | inurl:php site:baidu.com 敏感参数 inurl:email= | inurl:phone= | inurl:password= | inurl:secret= inurl:& site:baidu.com API文档 inurl:apidocs | inurl:api-docs | inurl:swagger | inurl:api-explorer site:"baidu.com" 代码泄露 site:pastebin.com "baidu.com" site:jsfiddle.net "baidu.com" site:codebeautify.org "baidu.com" site:codepen.io "baidu.com" 云存储 site:s3.amazonaws.com "baidu.com" site:blob.core.windows.net "baidu.com" site:googleapis.com "baidu.com" site:drive.google.com "baidu.com" site:dev.azure.com "baidu.com" site:onedrive.live.com "baidu.com" site:digitaloceanspaces.com "baidu.com" site:sharepoint.com "baidu.com" site:s3-external-1.amazonaws.com "baidu.com" site:s3.dualstack.us-east-1.amazonaws.com "baidu.com" site:dropbox.com/s "baidu.com" site:box.com/s "baidu.com" site:docs.google.com inurl:"/d/" "baidu.com" JFrog 软件工件管理工具 site:jfrog.io "baidu.com" Firebase site:firebaseio.com "baidu.com" 文件上传点 site:baidu.com ”choose file” 漏洞赏金计划和漏洞披露计划 "submit vulnerability report" | "powered by bugcrowd" | "powered by hackerone" site:*/security.txt "bounty" Apache服务器状态暴露 site:*/server-status apache WordPress inurl:/wp-admin/admin-ajax.php Drupal intext:"Powered by" & intext:Drupal & inurl:user Joomla site:*/joomla/login
- 百度
- 各种社交媒体
- 甚至是可联网的搜索的AI
网站资产信息打点到此为止,但我们仍可以对目标旗下的小程序、APP进行进一步的信息搜集。
小程序信息
小程序和APP的信息收集方法不多赘述,简单提及如下:
- 使用安卓模拟器或 Burp Suite 等抓包工具分析出Web资产,然后重复上述信息收集步骤。
- 反编译源码,查找泄露信息,提取接口、JS逆向签名、加密算法等信息。
APP信息
外在
- 使用安卓模拟器和 Burp Suite 抓包工具分析Web资产,重复信息收集步骤。
内在
- 查壳工具 查找壳(apkscan)
- 安卓信息提取器(AppInfoScanner)
- 安卓修改大师(APKEditor)进行反编译
信息收集是灵活的,不必局限于某一固定的思路。关键是学习如何通过一层层剥茧收集目标信息,分析他人收集信息的思维方式,而不仅仅是手段。
文章来源:先知社区

本网站信息来源于网络,如有侵权,请联系删除。
本网站不保证信息真实性、有效性,仅供参考。请以最新法律法规和相关标准要求为准。